Avant de nous plonger sérieusement dans les parcs d’Universal Orlando, je vous propose une petite mise en bouche avec un Contrôle Qualité exclusivement dédié à l’attraction la plus moderne d’Orlando, tous parcs confondus : Harry Potter and the forbidden Journey à Universal’s Islands of Adventure.
C’est après une longue bataille très médiatisée qu’Universal finalement a obtenu les droits d’exploitation de la saga Harry Potter, au grand dam de Disney puisqu’on parle ici d’une des licences cinéma les plus juteuses en terme de produits dérivés, probablement juste après l’indéboulonable numéro 1 Star Wars. La rumeur veut qu’Universal se soit simplement plié à toutes les exigences de Sa Majesté JK Rowling, là où Disney, fort de son expertise en flux de visiteurs notamment, s’est montré plus restrictif. Ainsi en juin 2010, c’est un land entier basé sur la licence qui a ouvert ses portes au public : The Wizarding World of Harry Potter.
Ne tournons pas autour du pot : la qualité d’execution de la zone et de l’attraction égale aisément les plus belles réalisations de Walt Disney Imagineering. Je dirais même que la file d’attente à l’intérieur de Poudlard est un chouillat plus immersive, plus détaillée et offre plus de surprises que ce que fait habituellement Disney. Attention spoiler : Saviez-vous qu’il neige régulièrement dans une des pièces de la file d’attente ?! Evidemment, on peut se dire qu’Universal Creative n’a fait que reproduire les décors des films et que tout était déjà fait. On sait aussi que JK Rowling a été particulièrement attentive (pour ne pas dire totalement control freak) à ce que la direction artistique de la série de films soit respectée à la lettre reproduite au millimètre près. Pour ce faire, elle a d’ailleurs imposé à Universal de travailler avec Stuart Craig, le décorateur des films. Mais après tout qu’importe, seul le résultat final compte et Universal nous offre ici une des scénographies les plus impressionnantes de l’industrie des parcs à thèmes. La zone d’accès à l’attraction via Hogsmeade (Pré-Au-Lard en français :-/ ) ne fait qu’une bouchée de celle de The Twilight Zone – Tower of Terror aux Disney’s Hollywood Studios.
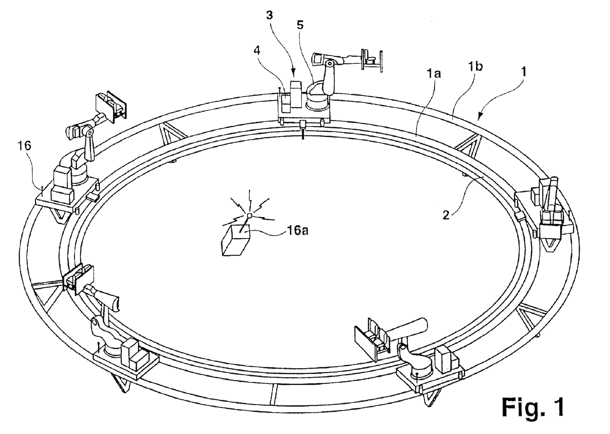
Poussons à présent les portes du château de Hogwarts pour aller voir ce que l’attraction a dans le ventre. Comme je le disais, la file est à elle seule une attraction en soi, donc ne vous ruez pas sur la file single rider (la meilleure invention du monde) si c’est votre premier tour, vous passeriez à côté de nombreux décors somptueux et d’effets spéciaux très soignés qui valent peut-être autant le détour que l’attraction elle-même. Une fois installé sur votre banquette (fixée au bout d’un bras articulé Robocoaster se déplaçant sur un rail) l’illusion de vol en hauteur est parfaite car votre angle de vue est réduit grâce à la forme des sièges. Les concepteurs se sont donc arrangés pour contrôler entièrement ce que vous voyez, et ce que vous ne voyez pas, plus que sur toute autre attraction à ma connaissance. Impossible d’apercevoir le rail par exemple. Un autre élément qui change tout, c’est la technologie Robocoaster qui insuffle une dimension inédite au concept vieillissant de dark ride. Alors que ces attractions offrent habituellement un angle de vue linéaire où vous voyez ce qui se passe devant ou sur les côtés, ici votre banquette vous emporte explorer tous les coins et recoins de scènes décorées de tous les côtés, parfois jusqu’au plafond en penchant les sièges en arrière! La proximité directe avec les décors est également saisissante. Ceci, additionné aux mouvements rapides des banquettes rend le voyage absolument épique. Si j’ai trouvé les passages dotés de décors réels beaux et sensationnels, j’ai beaucoup moins pris mon pied lors des séquences où la banquette bouge de façon synchronisée devant un écran hémisphérique. Les sensations sont semblables à celles d’un simulateur: gerbant. Cela dit, les transitions entre décors réels et écrans sont quasiment imperceptibles, ce qui, sans lunettes 3D sur le nez relève de la prouesse technique et artistique. Vraiment bluffant.
Une des composantes clé des magnifiques environnements thématisés de Disney est l’absence de toute intrusion visuelle nuisant au thème, notamment en cachant tant que possible ce qu’il y a à l’extérieur des parcs ou zones par des procédés divers tels que végétation abondante etc. Dans Wizarding World of Harry Potter, Universal semble avoir poussé le concept encore plus loin en ayant l’idée de génie de bannir de la zone tout produit qui ferait tâche dans le thème. Pas une canette de Coca-Cola, pas un sachet de M&M’s dans Wizarding World. La solution : n’y vendre que des produits issus ou inspirées de la franchise Harry Potter. La Butterbeer en est le meilleur exemple et son insolent succès est probablement l’idée la plus novatrice du land : de la nourriture thématisée. Simple comme tout mais il fallait y penser. L’année d’ouverture de Wizarding World of Harry Potter, Universal Orlando a ainsi vu sa fréquentation faire un bond ahurissant de 20%, et ses revenus globaux grimper de 41% grâce notamment aux tickets d’entrées et à 600 articles griffés Harry Potter propulsant les ventes de merchandising du simple au double! Comme je l’expliquais ici, il faudrait être aveugle pour ne pas y voir le futur de la restauration dans les parcs à thèmes. D’ailleurs, ce n’est pas un hasard si Disney s’essaye au concept depuis quelques mois – plutôt maladroitement jusqu’ici.
S’il faut trouver un défaut à Wizarding World of Harry Potter, c’est bizarrement ce qui fait le charme de la zone : en cherchant à rester fidèle aux dimensions des films, certains coins deviennent très vite encombrés par les visiteurs, en particulier les magasins. Or, Islands of Adventure n’est pas Efteling et Harry Potter rameute ‘légérement’ plus de Moldus que le Bois des Contes. C’est ce genre d’aspects que Disney avait tenté de prévoir dans sa candidature. Résultat : l’accès à la zone toute entière est fréquemment régulé au compte gouttes les jours de forte affluence. Ce qui est un peu con pour l’attraction la plus prisée du monde, mais il faut savoir qu’Universal n’est pas aussi fort en régulation de flux de visiteurs que Disney, on a tendance à l’ignorer et cela peut surprendre pour un parc de cet envergure. J’y reviendrai dans le Contrôle Qualité dédié à Universal.
Avec Harry Potter, Universal continue de prendre de l’avance, beaucoup d’avance sur la concurrence. Et grâce aux revenus inouïs générés par Wizarding World, le rythme des investissements du groupe s’intensifie. Mais au delà d’Universal, l’industrie entière a des leçons à tirer d’un tel succès. Sur les façons de tirer profit créativement et financièrement des franchises cinématographiques, sur la nourriture, sur l’immersion, sur l’usage de technologies modernes… Une vraie claque pour Disney dont on attend toujours une contre-attaque digne de ce nom aux US.
Pour terminer, je vous propose une petite galerie côté backstage pour mieux comprendre l’aspect technique de cette attraction si sophistiquée. Du High-Tech Porn en somme. 100% spoiler évidemment, je vous laisse donc le choix de la découvrir ou pas. Pour la parcourir cliquez sur ‘show’.
Ne manquez pas mon Contrôle Qualité complet d’Universal Orlando ansi que celui dédié à l’expansion Diagon Alley avec Harry Potter and the escape from Gringotts et le Hogwarts Express!
Before we step into a complete tour of Universal Orlando, here is an appetizer with a special Quality Control review dedicated to Orlando’s most modern attraction: Harry Potter and the forbidden Journey in Universal’s Islands of Adventure.
After a long and widely publicized battle, Universal eventually got the rights to use the Harry Potter saga in their parks, to the chagrin of Disney because we’re talking about one of the world’s most profitable movie franchises in terms of box office and merchandising revenues, probably right after Star Wars. Rumor has that Universal just said yes to every single demand of Her Majesty JK Rowling, while Disney was more restrictive by trying to make use of its expertise on crowd management for instance. Then in June 2010, a whole land based on the license opened its doors: The Wizarding World of Harry Potter.
Let’s talk straight : the theming level of the area and the attraction easily compete with the most beautiful creations of Walt Disney Imagineering. I’d even say that the queue line in Hogwarts is even more immersive, detailed and has a few more surprises to offer than Disney. Spoiler alert: Did you know that snow falls on a regular basis in a room of the waiting area? Of course you can think that all Universal Creative did was just reproducing the existing set design of the movies. It’s also commonly known that JK Rowling was an obsessive control freak very careful to stick the original art direction of the movies. But after all, what happens behind the scenes doesn’t matter as long as the result is well done, right? Well, Universal delivers here one of the most astonishing environments ever created in the theme park industry. The access to the attraction through Hogsmeade beats the Tower of Terror / Sunset Boulevard combo and even Expedition Everest.
Let’s step inside Hogwarts castle to see what the ride has to offer. As I said, the queue line really is an attraction in itself, so don’t rush on the single rider line (the greatest invention ever though) if it’s your first ride. You don’t want to miss so many marvelous decors and props as well as a many brilliant special effects. Once you’re seated on your bench (attached at the end of a Robocoaster arm moving on a rail) the illusion of flying is absolutely stunning because your viewing angle is restrained thanks to the shape of the seats. The designers did it so you can only see what they wanted you to see – or not. Which is something I’ve never seen before on any attraction. For instance, you can’t see the rail on the ground during the whole ride. Another game changer is the Robocoaster technology that takes the aging dark ride attraction to a new level. These classic attractions usually provide a linear point of view where you can only watch in front of you and on the sides, but here your bench brings you exploring all the corners and parts of scenic rooms that are themed on every side, sometimes up to the roof – then your bench simply leans back! Also, props are extremely close to you. This, added with the smooth and fast moves of your bench makes the ride absolutely epic. If I had the time of my life during the sections with real props, I can hardly say so for the sequences where your bench moves in front of a hemispheric screen. The sensations provided on these portions of ride are quite similar with average puke machines simulators. That said, the transitions between real props and video sequences are incredibly seamless, which is a technical exploit without the use of 3D glasses (thank god for that by the way). Really breathtaking.
One of the keys of the wonderful themed environments of Disney is the absence of any visual intrusion that could affect the theme, for instance by hiding the real world that’s outside the parks with greenery etc. In the Wizarding World of Harry Potter, Universal takes this concept even further with the genius idea of banishing any commercial item non related to Harry Potter. So you won’t find any Coca-Cola can or M&M’s pack in the Wizarding World area. The solution: they only sell products from/inspired by the franchise. The highly successful and profitable Butterbeer is by far the best example, and in fact possibly the most innovative idea of the whole land: themed food. During the opening year of the Wizarding World of Harry Potter, Universal Orlando’s attendence made a skyrocketing 20% increase and the global revenue made a spectacular 41% increase thanks to admission tickets and 600 carefully produced Harry Products that helped double merchandise sales! As I told you here, you should be blind to not see this is the future of catering in theme parks. This is not a coincidence if Disney tries to mimic the concept for a few months – unfortunately not with such great ideas of themed merchandise.
If I had to find a default to the Wizarding World of Harry Potter, it may sound weird but it’s also what makes this land so charming: by trying to stick to the actual dimensions seen in the Harry Potter movies, many places of the Wizarding World become packed with guests very quickly, especially the boutiques. However, Islands of Adventures is not Efteling, and the Wizarding World of Harry Potter attracts ‘slightly more’ Muggles than the Fairy Tale Forest. Disney tried to deal with this kind of critical points during the Harry Potter pitch against Universal. As a result: the access to the land is frequently restrained and regulated to a maximum amount of people during the busy days. Which is terrible for the world’s most popular attraction. But here in Europe, many ignore that Universal is not as strong as Disney on queues and crowd management. This is very surprising for such a large scale group of parks. I’ll be more specific on that point in the upcoming Universal Orlando Quality Control review.
With Harry Potter, Universal keeps raising the bar and getting ahead of its competitors. And thanks to the massive revenues generated by the Wizarding World, the pace of investment in the Universal parks intensifies. But beyond Universal, the entire amusement park industry has to learn from such a huge success. From the ways to make a creative and profitable use of movie licenses to food offering, thematic immersion, high-technology … A true slap in the face of Disney. And we’re still waiting for a serious answer from them in the US.
To conclude, I’d like to share with you a gallery of backstage pictures in order for you to understand the technical side of such a sophisticated attraction. Basically it’s high-tech porn. Of course it’s 100% spoilers, so I let you decide to watch it or not. To discover it, just click the ‘show’ button.
Be sure to read my full review of Universal Orlando and my Diagon Alley expansion review, including Harry Potter and the Escape from Gringotts and Hogwarts Express!
Photos: Universal Orlando, Wikipedia, CosForums, pktk, Orlando Informer, Theme Park Review.





















3 Comments